Sengoliloeng sena se tla hlahisa mehopolo ea moralo le ts'ebetso ea ts'ebetso ea sekoaelo sa polasetiki ea lijo tsa motšeare ka botlalo, le sebopeho sa likarolo tsa polasetiki, lisebelisoa tsa tlhahlobo e felletseng, moralo o hlakileng oa theknoloji ea hlobo.
Mantsoe a bohlokoa: hlobo ea ente;Sek'hafothini.Mokhoa oa ho bopa
Karolo ea Pele: Tlhahlobo ea ts'ebetso ea likarolo tsa polasetiki le khetho ea mantlha ea mochini oa ente
1.1Lisebelisoa tse tala le tlhahlobo ea ts'ebetso ea lebokose la lijo tsa motšeare tsa polasetiki
Lebokose lena la lijo tsa motšehare tsa polasetiki ke sehlahisoa se tloaelehileng sa polasetiki bophelong ba letsatsi le letsatsi, haholo-holo se sebelisetsoang ho tšoara lijo.Ha ho nahanoa ka ho khetheha ha ts'ebeliso ea eona, tlhahlobo e felletseng ea ts'ebetso ea lipolasetiki tse fapaneng, khetho ea thepa ea polypropylene (PP).
Polypropylene (Plasitiki ea PP) ke mofuta oa sets'oants'o se phahameng, ha ho na ketane ea mahlakoreng, kristale e phahameng ea polymer ea mela, e na le thepa e felletseng e felletseng.Ha e se mebala, e tšoeu e phatsima, e boka;E bobebe ho feta polyethylene.Ho pepeseha ho boetse ho molemo ho feta polyethylene.Ho phaella moo, boima ba polypropylene bo nyenyane, matla a khoheli a itseng a 0.9 ~ 0.91 grams / cubic centimeter, matla a tlhahiso, elasticity, thata le ho tsitsisa, matla a khatello a phahame ho feta polyethylene.Mocheso oa eona oa ho bōptjoa ke 160 ~ 220 ℃, o ka sebelisoa ka likhato tse ka bang 100, 'me o na le thepa e ntle ea motlakase le ho koala maqhubu a phahameng ha a amehe ke mongobo.Sekhahla sa eona sa ho monya metsi se tlase ho feta polyethylene, empa ho bonolo ho qhibiliha ho phatloha ha 'mele, ho kopana nako e telele le tšepe e chesang ho bonolo ho senyeha, ho tsofala.The fluidity e ntle, empa ho theha sekhahla sa ho fokotseha ke 1.0 ~ 2.5%, tekanyo ea ho fokotseha e kholo, e leng bonolo ho lebisa lesobeng la shrinkage, dent, deformation le liphoso tse ling.Lebelo la ho pholisa la polypropylene le potlakile, sistimi ea ho tšela le sistimi ea pholile e lokela ho pholile butle, 'me u ele hloko ho laola mocheso oa ho etsa.Botenya ba lerako la likarolo tsa polasetiki bo lokela ho ba bo ts'oanang ho qoba ho hloka sekhomaretsi le Angle e bohale ho thibela khatello ea maikutlo.
1.2Tlhahlobo ea mokhoa oa ho bopa lebokose la lijo tsa motšeare tsa polasetiki
1.2.1.Tlhahlobo ea sebopeho sa likarolo tsa polasetiki
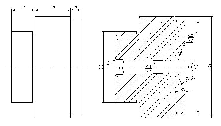
Botenya ba lebota bo khothalelitsoeng ba likarolo tse nyane tsa polasetiki tsa polypropylene ke 1.45mm;Boholo ba motheo ba lebokose la lijo tsa motšeare ke 180mm×120mm×15mm;Nka boholo ba lebota le ka hare la sekoahelo sa lebokose la lijo tsa motšehare: 107mm;Phapang pakeng tsa marako a ka hare le a ka ntle ke: 5mm;K'honeng e chitja ea lebota le kantle ke 10mm, 'me huku e chitja ea lebota le kahare ke 10/3mm.K'honeng e 'ngoe ea sekoaelo sa lebokose e na le mookameli oa annular ea nang le radius ea 4mm.Hobane likarolo tsa polasetiki ke lijana tse nang le marako a tšesaane, e le ho thibela ho hloka botsitso le matla a bakoang ke ho senyeha ha likarolo tsa polasetiki, kahoo karolo e ka holimo ea likarolo tsa polasetiki e entsoe e le selikalikoe sa 5mm se phahameng sa arc.
1.2.2.Tlhahlobo e nepahetseng ea likarolo tsa polasetiki
Likarolo tse peli tsa sekoaelo sa lebokose la lijo tsa motšeare li na le litlhoko tsa ho nepahala, e leng 107mm le 120mm, 'me tlhoko ea ho nepahala ke MT3.Kaha karolo e ka ntle ea likarolo tsa polasetiki e angoa ke mamello ea litekanyo tsa karolo e tsamaeang ea hlobo (e kang moeli o fofang), mofuta oa mamello o khethoa e le sehlopha sa B. Haeba boemo ba mamello bo sa hlokehe, MT5 e khethoa. .
1.2.3.Tlhahlobo ea boleng ba bokaholimo ba likarolo tsa polasetiki
Ho nepahala ha bokaholimo ba sekoaelo sa lunchbox ha se holimo, 'me bokaholimo ba Ra ke 0.100~0.16um.Ka hona, hlobo e le 'ngoe ea ente ea karohano ea semathi sa heke e ka sebelisoa ho netefatsa ho nepahala ha bokaholimo.
1.2.4.Lintho tse bonahalang le molumo le boleng ba likarolo tsa polasetiki
Botsa thepa ea thepa ea polasetiki ea PP (ho kenyeletsoa modulus elastic, karo-karolelano ea Poisson, letsoalo, matla a tsitsipano, conductivity ea mocheso le mocheso o itseng) ho SolidWorks, 'me u sebelise software ea SolidWorks ho bala lintlha tsa likarolo tsa polasetiki (ho kenyeletsoa boima, bophahamo, sebaka le setsi. ea khoheli).
1.3 Etsa qeto ea mekhoa ea ho bōpa likarolo tsa polasetiki
Ha ho etsoa ente, mocheso oa silinda le nozzle o tla ama polasetiki le phallo ea polasetiki, mocheso oa hlobo o tla ama ho phalla le ho pholile ha sebopeho sa polasetiki, khatello nakong ea ente e tla ama ka kotloloho polasetiki ea likarolo tsa polasetiki le likarolo tsa polasetiki.Tlhahiso tabeng ea ho netefatsa boleng ba likarolo tsa polasetiki e tla leka ho khutsufatsa potoloho ea ho bopa ea likarolo tsa polasetiki, e leng nako ea ente le nako ea ho phomola e nang le tšusumetso e matla ho boleng ba likarolo tsa polasetiki.
Lipotso tseo u ka li nahanang ha u etsa moralo:
1) Tšebeliso e nepahetseng ea li-stabilizers, lubricant ho netefatsa ts'ebetso ea ts'ebetso ea polasetiki ea PP le ts'ebeliso ea likarolo tsa polasetiki.
2) Shrinkage, indentation, deformation le liphoso tse ling li lokela ho thibeloa nakong ea moralo.
3) Ka lebaka la lebelo la ho pholile ka potlako, ela hloko mocheso oa mocheso oa tsamaiso ea ho tšela le tsamaiso ea ho pholile, 'me u ele hloko taolo ea mocheso oa ho etsa.Ha mocheso oa hlobo o le tlase ho likhato tse 50, likarolo tsa polasetiki li ke ke tsa e-ba boreleli, ho tla ba le welding e futsanehileng, ho siea matšoao le liketsahalo tse ling;Likhato tse fetang 90 li na le tšekamelo ea ho senyeha ha warp le liketsahalo tse ling.
4) Botenya ba lerako la likarolo tsa polasetiki bo tla tšoana hantle ho qoba khatello ea maikutlo.
1.4 Mohlala le tlhaloso ea mochine oa ho bopa ente
Ho latela likarolo tsa ts'ebetso ea ho bopa ea likarolo tsa polasetiki, khetho ea pele ea mochini oa ente ea mofuta oa G54-S200/400,
Karolo ea Bobeli: Moralo oa sebopeho oa hlobo ea ente ea polasetiki ea lijo tsa motšeare
2.1 Boikemisetso ba sebaka se arohaneng
Sebopeho sa motheo le boemo ba ho senya likarolo tsa polasetiki li lokela ho nkoa ha ho khethoa sebaka se arohaneng.Melao-motheo ea moralo oa sebaka sa ho arohana ke tse latelang:
1. Sebaka sa ho arohana se lokela ho khethoa ka tekanyo e kholo ea karolo ea polasetiki
2. Khetho ea sebaka se arohaneng e lokela ho ba se loketseng ho theoleloa ha likarolo tsa polasetiki
3. Khetho ea sebaka se arohaneng e lokela ho netefatsa ho nepahala le boleng ba bokaholimo ba likarolo tsa polasetiki le litlhoko tsa ts'ebeliso ea tsona.
4. Khetho ea sebaka se arohaneng e lokela ho ba se loketseng ho sebetsa le ho nolofatsa hlobo
5. Fokotsa sebaka sa projeke ea sehlahisoa ka tataiso ea clamping
6. Konokono e telele e lokela ho behoa ka lehlakoreng la ho bula lefu
7. Khetho ea sebaka se arohaneng e lokela ho ba se loketseng ho khathala
Ho akaretsa, e le ho etsa bonnete ba hore boreleli bo boreleli ba likarolo tsa polasetiki le litlhoko tsa tekheniki tsa likarolo tsa polasetiki le tlhahiso e bonolo ea hlobo, sebaka se arohaneng se khethoa e le sebaka se ka tlase sa sekoaelo sa lebokose la lijo tsa mots'eare.Joalokaha ho bontšitsoe setšoantšong se ka tlase:
2.2 Boikemisetso ba nomoro ea Cavity le tlhophiso
Ho ea ka litlhoko tsa moralo oa likarolo tsa polasetiki moralo oa bukana, likarolo tsa polasetiki litšoaneleho tsa sebopeho sa geometri le litlhoko tsa ho nepahala ha maemo le litlhoko tsa moruo tsa tlhahiso, ho lekola tšebeliso ea hlobo ea sekoti.
2.3 Moralo oa tsamaiso ea ho tšela
Moralo ona o sebelisa mokhoa o tloaelehileng oa ho tšela, 'me melao-motheo ea moralo oa eona ke e latelang:
Boloka ts'ebetso e khuts'oane.
Phello e lokela ho ba e ntle,
Thibela deformation ea mantlha le ho kenya phalliso,
Thibela warping deformation ea likarolo polasetiki le ho thehoa ha maqeba a batang, matheba a batang le likoli tse ling holim'a metsi.
2.3.1 Moralo oa mocha oa sehlooho
Mocha o ka sehloohong o etselitsoe ho ba conical, 'me cone Angle α ke 2O-6O, le α=3o.Bophahamo ba bokaholimo ba mocha oa phallo Ra≤0.8µm, phallo ea mocha o moholo ke phetoho ea fillet, e le ho fokotsa khanyetso ea phallo ea thepa ho ea phetohong, radius ea fillet r = 1 ~ 3mm, e nkuoa e le 1mm. .Moqapi oa mocha o ka sehloohong o tjena;
Sebopeho sa letsoho la heke se entsoe ka likarolo tse peli ho sebelisa letsoho la heke le selikalikoe sa boemo, se behiloeng holim'a poleiti e tsitsitseng ea setulo sa shoa ka mokhoa oa mohato.
Bophara ba ntlha e nyane ea sleeve ea heke ke 0.5 ~ 1mm e kholo ho feta ea molomo, e nkoang e le 1mm.Kaha karolo e ka pele ea qetello e nyenyane ke pherekano, botebo ba eona ke 3 ~ 5mm, e nkoang e le 3mm.Kaha karolo ea molomo oa mochine oa ente e kopana le 'me e lumellana le hlobo sebakeng sena, bophara ba sekhahla sa mocha o ka sehloohong se lokela ho ba 1 ~ 2mm e kholo ho feta ea molomo, e nkoang e le 2mm.Foromo ea tšebeliso le liparamente tsa sleeve ea heke li bontšitsoe ka tlase:
H7/m6 transition fit e amohelwa pakeng tsa letsoho la heke le thempleite, mme H9/f9 fit e amohelwa pakeng tsa letsoho la heke le reng e behang.Lesale la boemo bo kenngoa ka lesoba la boemo ba template e tsitsitseng ea mochine oa ente nakong ea ho kenya le ho lokisa hlobo, e sebelisetsoang ho kenya le ho beha hlobo le mochine oa ente.Bophara bo ka ntle ba selikalikoe sa boemo bo nyane ka 0.2mm ho feta lesoba le behiloeng holim'a thempleite e tsitsitseng ea mochini oa ente, kahoo ke 0.2mm.Sebopeho se tsitsitseng sa sleeve ea heke le boholo ba selikalikoe sa boemo bo bontšitsoe ka tlase:
2.3.2 Shunt moralo oa kanale
Hobane moralo ke hlobo sekoti, sebaka se arohaneng bakeng sa botlaaseng ba sekoaelo sa lebokose, le khetho ea heke bakeng sa mofuta o tobileng oa heke, kahoo shunt ha ea tlameha ho theha.
2.3.3 Moralo oa heke
Ho nahana ka litlhoko tsa ho bōptjoa ha likarolo tsa polasetiki le ho sebetsa ha hlobo ho loketse kapa che le tšebeliso ea sebele ea boemo, kahoo moralo oa sebaka sa heke o khethoa e le setsi se ka holimo sa sekoahelo sa lebokose la lijo tsa motšehare.Bophara ba heke ea ntlha hangata ke 0.5 ~ 1.5mm, 'me e nkoa e le 0.5mm.The Angle α hangata ke 6o ~ 15o, 'me e nkoa e le 14o.Moralo oa heke o bontšitsoe ka tlase:
2.4 Moralo oa lesoba le batang le molamu oa ho hula
Ka hona, moralo ke hlobo le sekoti, ntlha ea heke e tšela ka ho toba, kahoo sekoti se batang le molamu oa ho hula ha oa lokela ho etsoa.
2.5 Moralo oa ho etsa likarolo
2.5.1Boikemisetso ba sebopeho sa die le punch
Hobane ke likarolo tse nyane tsa polasetiki, sekoti, 'me e le hore ho be le ts'ebetso e phahameng ea ts'ebetso, disassembly e bonolo, empa hape le ho netefatsa sebopeho le boholo bo nepahetseng ba likarolo tsa polasetiki, moralo oa khetho ea convex le concave ka kakaretso.Lefu la convex le sebetsoa ka mokhoa o arohaneng oa ts'ebetso, ebe o hatelloa ka har'a template ka phetoho ea H7/m6.Sets'oants'o sa moralo oa sebopeho sa convex le concave die ke ka tsela e latelang:
2.5.2Moralo le palo ea cavity le sebopeho sa mantlha
Kamano pakeng tsa boholo bo sebetsang ba karolo ea hlobo le boholo ba karolo ea polasetiki e bontšitsoe ka tlase:
2.6 Khetho ea foreime ea hlobo
Kaha moralo ona ke oa likarolo tsa polasetiki tse nyane le tse mahareng, foreimi ea hlobo ke P4-250355-26-Z1 GB/T12556.1-90, 'me B0 × L ea foreimi ea hlobo ke 250mm×355mm.
Setšoantšo sa kopano ea hlobo ke se latelang:
2.7 Moralo oa karolo ea sebopeho
2.7.1Moqapi oa sebopeho sa kholomo ea tataiso
Bophara ba poso ea tataiso ke Φ20, 'me thepa e khethiloeng bakeng sa poso ea tataiso ke tšepe ea 20, e nang le carburizing ea 0.5 ~ 0.8mm le ho tima boima ba 56 ~ 60HRC.Angle ea chamfered e bontšitsoeng setšoantšong ha e fete 0.5 × 450.Poso ea tataiso e tšoailoe e le Φ20×63×25(I) — 20 steel GB4169.4 — 84. H7/m6 transition fit e amohetswe pakeng tsa karolo e tsitsitseng ya kholomo ya tataiso le thempleite.Poso e 'ngoe ea tataiso e tšoailoe Φ20×112×32 — 20 tšepe GB4169.4 — 84.
2.7.2Moqapi oa sebopeho sa letsoho la tataiso
Bophara ba sleeve ea tataiso ke Φ28, 'me thepa ea letsoho la tataiso ke tšepe ea 20, carburized 0.5 ~ 0.8mm,' me boima ba phekolo e tingoeng ke 56 ~ 60HRC.Chamfering e bontšitsoeng setšoantšong ha e fete 0.5 × 450.Leqhetsoana la tataiso le tšoailoe e le Φ20×63(I) — 20 tšepe GB4169.3 — 84, 'me ho nepahala ho ts'oanang ha poso ea tataiso le letsoho la tataiso ke H7/f7.Sleeve se seng sa tataiso se tšoailoeng Φ20×50(I) — 20 tšepe GB4169.3 — 84.
2.8 Ho qala moralo oa mochini
Mochine o sututsang ka kakaretso o entsoe ka ho sututsa, ho seta bocha le ho tataisa.
Hobane likarolo tsa polasetiki li batla li le tšesaane, molemong oa ho leka ho netefatsa boleng ba ponahalo ea likarolo tsa polasetiki, moralo oa mochini oa ho qala o nka molamu oa ejector ho sututsa likarolo tsa polasetiki.
Setšoantšo sa moralo oa mochine oa ho qalake ka tsela e latelang:
Sebopeho le mekhahlelo ea molamu oa ho sututsali bontšitsoe ka tlase:
Sebopeho sa sebopeho le liparamente tsa molamu oa resetli bontšitsoe ka tlase:
2.9 Moralo oa sistimi ea ho pholisa
Kaha ho pholile ha hoa lekana, mokhoa oa ho pholile oa mocha o pholileng o lokela ho ba ka hohle kamoo ho ka khonehang, khetho ena ea moralo bakeng sa 4. Sebaka sa mocha ho tloha sebakeng sa cavity se lekana, 'me sprue e boetse e matlafatsoa bakeng sa ho pholile.Sistimi ea ho pholisa e amohela mofuta oa potoloho oa DC, o nang le sebopeho se bonolo le ts'ebetso e bonolo.
Moralo oa sistimi ea pholiso o tjena:
Karolo ea Boraro: Lekola lipalo tsa hlobo ea ente
3.1.Sheba mekhoa e amanang le ts'ebetso ea mochine oa ente
3.1.1 Sheba boholo ba molumo oa ente
3.1.2 Lekola matla a ho tiisa
3.1.3 Sheba leeto la ho bula hlobo
3.2.Lekola botenya ba lebota le lehlakoreng le poleiti e tlase ea sekoti sa khutlonnetsepa
3.2.1 Lekola botenya ba lebota le ka lehlakoreng la mokoti o kopaneng oa khutlonnetsepa
3.2.2 Lekola botenya ba poleiti e ka tlase ea khutlonnetsepa
sephetho
Moqapi oa sehlopha sa Freshness Keeper Xie Master moralo ona haholo-holo ke oa moralo oa hlobo oa sekoaelo sa polasetiki ea lijo tsa motšeare, ka tlhahlobo ea thepa ea sekoaelo sa polasetiki ea lijo tsa mots'eare, sebopeho sa likarolo tsa polasetiki le theknoloji, ebe ho utloahala, ho phethela hlobo ea ente. moralo.
Freshness Keeper Melemo ea moralo ke ho nolofatsa mochini oa hlobo oa ente ka hohle kamoo ho ka khonehang ho netefatsa boleng ba likarolo tsa polasetiki, ho khutsufatsa potoloho ea ho bopa, litšenyehelo tse tlase tsa tlhahiso.Lintlha tsa bohlokoa tsa moralo ke ts'ebetso ea ho bopa ente, sebopeho sa cavity, khetho ea sebaka sa karohano, sisteme ea gating, mochini oa ejection, mochini oa demoulding, sistimi e pholileng, khetho ea mochini oa ente le cheke ea liparamente tse amehang le moralo oa likarolo tse kholo.
Moqapi o khethehileng oa Freshness Keeper o itšetlehile ka moralo oa tsamaiso ea ho tšela, ho tšollela letsoho la heke ea tsamaiso le selikalikoe sa boemo bakeng sa karolo e le 'ngoe, ho netefatsa bophelo ba hlobo, le khetho ea thepa, ts'ebetso, phekolo ea mocheso le ho nkela sebaka;Heke ke mofuta oa heke o tobileng, o hlokang sebaka se arohaneng habeli, 'me sebaka se tsitsitseng sa drawplate se sebelisoa ho fokotsa karohano ea pele.Sebopeho se bonolo ebile sea utloahala.
Nako ea poso: Nov-01-2022



















